华为注册多个“界”字商标:涵盖交通、建筑等多个领域

发布时间: 2023-11-22 11:06:53 类别: 行业资讯 浏览: 30

  在问界和智界两个品牌发布后,从天眼查APP获悉,华为还申请了包括慧界、享界、揽界、郝界、和界、轩界、腾界、向界等“界字辈”的商标。

华为注册多个“界”字商标:涵盖交通、建筑等多个领域

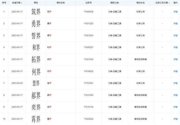
  据悉,在华为申请的众多“界”字商标当中,不仅涵盖了运输工具,还包含了教育娱乐、颜料油漆、建筑修理、地毯席垫、皮革皮具等众多领域。

  其中,共有24个“界”字商标为运输工具类。

  部分商标已经处于初审公告,还有一部分商标正在申请与等待实质审查当中。

  此前,华为余承东在接受采访时表示:继问界和智界之后,鸿蒙智行还将迎来另外两个“界”,分别来自北汽和江淮。

关键词:专利
声明:本网站发布的内容(图片、视频和文字)以原创、转载和分享网络内容为主,如果涉及侵权请尽快告知,我们将会在第一时间删除。文章观点不代表本网站立场,如需处理请联系我们。本站原创内容未经允许不得转载,或转载时需注明出处。